销售热线
技术热线:0576-85183757
销售电话:0576-85182037
技术电话:0576-85183757
传真号码:0576-85182843
联系邮箱:haihong@cn-hydraulic.com
公司地址:浙江省临海市江南街道金岭路199号
产品特点
结构紧凑,安装方便;
提制方式:电液控制,减轻操作者的疲劳强度;
设有常开倒灯开关,具有警示和安全作用;
微动性能好。
应用领域
该系列变速操纵阀主要适用于叉车、牵引车等行走机械变速箱系统。
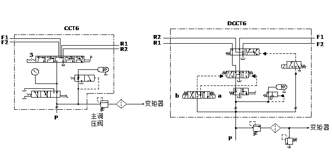
液压原理图
技术参数(对超出下述参数的应用场合,请与我公司联系)
|
概述 |
|
|
控制方式 |
电液或手动控制 |
|
安装方式 |
见外形图 |
|
液压 |
|
|
公称压力bar |
25 |
|
公称流量 L/min |
25 |
|
定压阀调定压力 bar |
11~15 |
|
阀芯操纵力 N |
max. 120 |
|
额定电压UR V |
DC 12或24 |
|
额定电流 IR A |
max. 1.2A(在额定电压,25℃温度下测定) |
|
液压油温度范围℃ |
-20~+100 |
|
粘度范围m2/s |
10~380 |
|
油液允许的污染等级 |
-/19/16 (ISO4406:1999) |
|
机械 |
|
|
重量kg CCT4约8.8kg CCT5约11.3kg CCT6约18kg |
DCCT4约9.8kg DCCT5约12.3kg DCCT6约19kg |
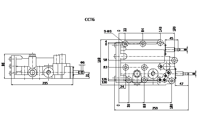
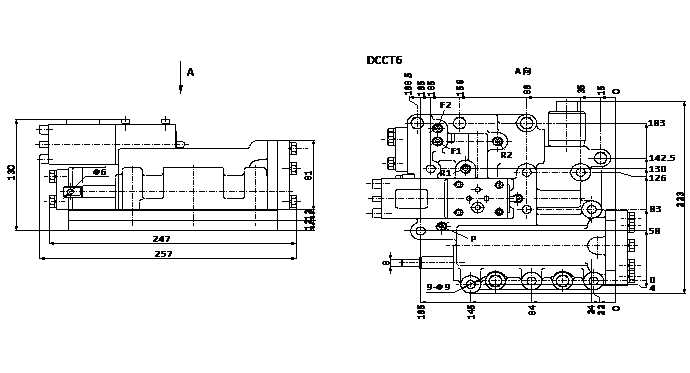
外形尺寸
相关产品
销售热线:0576-85182037
友情链接: 多路阀系列 先导阀系列 制动阀系列 操纵阀系列 农机阀系列 转向阀系列 Sitemap TXT Sitemap XML 网站地图

微信官网

手机官网